Mazda si patentovala 6-taktný motor, ktorý vyrába vodík z benzínu
Mazda je známa tým, že sa odmieta prispôsobovať trendom len preto, že to robia ostatní. Kým väčšina automobiliek vsádza všetko na elektrickú kartu, Japonci z Hirošimy stále skúmajú, čo sa dá vytiahnuť zo spaľovacích motorov. A teraz prekvapili ďalším krokom, ktorý znie ako vymyslený. Patentovali si 6-taktný motor, ktorý dokáže z benzínu vyrobiť vodík.
Mazda už roky tvrdí, že elektrické autá síce majú budúcnosť, ale nie sú univerzálnym riešením. Preto investuje do vývoja syntetických palív, skúma využitie vodíka a zároveň odmieta trend masívneho znižovania objemu motorov, ktorý prijali všetci ostatní. Namiesto downsizingu si Mazda dlhodobo drží väčšie atmosférické motory a argumentuje spoľahlivosťou, prirodzeným chodom a nižšou zložitosťou. Nový patent ukazuje, že ich tvrdohlavosť môže priniesť prekvapivé výsledky.
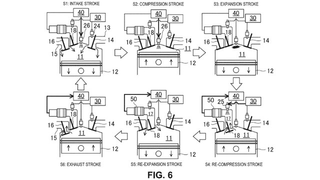
Ako funguje 6-taktný motor
Na prvý pohľad ide o klasický štvortaktný motor – nasávanie, kompresia, expanzia a výfuk. Mazda však pridáva ďalšie dva kroky navyše, ktoré zásadne menia hru. Na konci cyklu prichádza tzv. rekompresia, pri ktorej sa výfukové plyny vedú do špeciálneho katalyzátora. Do horúcich plynov sa vstrekuje malé množstvo benzínu, ktoré sa rozkladá na vodík a čistý uhlík. Vodík sa následne spaľuje ako palivo, čím znižuje emisie CO₂ takmer na nulu. A keďže systém dokáže vyrábať vodík priamo počas prevádzky, odpadá potreba veľkých tlakových nádrží či komplikovanej infraštruktúry. Ak nie je vodíka dosť, motor jednoducho beží na klasický benzín.
Teoreticky tak Mazda navrhuje spaľovací motor, ktorý emituje minimum alebo žiadne CO₂. V praxi je to však veľmi komplikované. Hlava valcov by musela byť oveľa zložitejšia, pribudli by ďalšie ventily a nové ovládanie, ktoré by nefungovalo na tradičný vačkový hriadeľ. To znamená viac dielov, vyššie náklady a väčší priestor na poruchy. Odborníci preto upozorňujú, že hoci myšlienka znie lákavo, jej zavedenie do sériovej výroby bude nesmierne náročné. Navyše je otázne, aká bude skutočná účinnosť a či sa systém podarí doladiť tak, aby bol konkurencieschopný s elektrickým pohonom alebo klasickými hybridmi.
Vodík, benzín a budúcnosť mobility
Mazda svoj patent pomenovala ako „systém reformovania paliva pre vozidlá“. V preklade motor, ktorý dokáže fungovať na benzín aj vodík a podľa potreby si jedno z druhého vyrába. V čase, keď Európska únia plánuje zákaz spaľovacích motorov, je to odvážny krok. Pre Japoncov však typický – Mazda sa vždy vyznačovala ochotou ísť vlastnou cestou. Spomeňme legendárne rotačné motory Wankel, ktoré používala v športových modeloch RX-7 a RX-8. Aj keď sa nepresadili vo veľkom, stali sa ikonami technickej odvahy. Možno aj 6-taktný motor na báze vodíka ostane len v laboratóriách, no možno otvorí úplne novú kapitolu spaľovania.
TEST Mazda CX-80 e-Skyactiv D: Japonka downsizingu ukázala šesť valcov a nechala ho Nemcom
Autá ma sprevádzajú už od detstva – začalo to otcovou garážou a pokračovalo cez testy, rozhovory a nekonečné hodiny strávené za volantom (aj klávesnicou). Dnes som šéfredaktorkou portálu Autoviny.sk a stále si myslím, že najlepší zvuk je ten, ktorý ide spod kapoty. Aj články by mali byť dobré ako niektoré autá – musia mať tempo, rytmus, pointu… a ak zanechajú stopu, o to lepšie. A práve o to sa v našej redakcii snažíme.


























